Google Pixel Buds
Lead Product Design Engineer
2018 - 2020
I led a team of three on the case design, owning the 3D CAD assembly + architecture and designing several system components, including the bi-stable magnetic hinge.
Google Pixel Buds
Lead Product Design Engineer
2018 - 2020
I led a team of three on the case design, owning the 3D CAD assembly + architecture and designing several system components, including the bi-stable magnetic hinge.
Google Pixel Buds
Lead Product Design Engineer
2018 - 2020
I led a team of three on the case design, owning the 3D CAD assembly + architecture and designing several system components, including the bi-stable magnetic hinge.
Google’s First Wireless Earbuds
At the start of this project in 2018, the wireless bud market was still developing. The development of this 1st-gen product was full of unknowns, unique engineering challenges & creative problem solving.
Google’s First Wireless Earbuds
At the start of this project in 2018, the wireless bud market was still developing. The development of this 1st-gen product was full of unknowns, unique engineering challenges & creative problem solving.
Google’s First Wireless Earbuds
At the start of this project in 2018, the wireless bud market was still developing. The development of this 1st-gen product was full of unknowns, unique engineering challenges & creative problem solving.


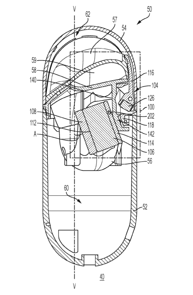
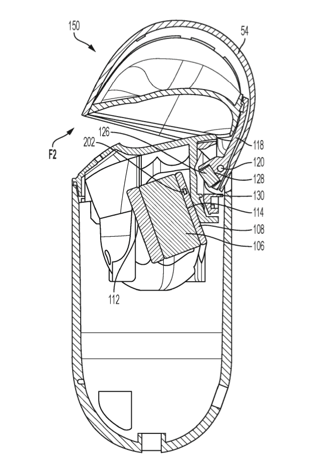
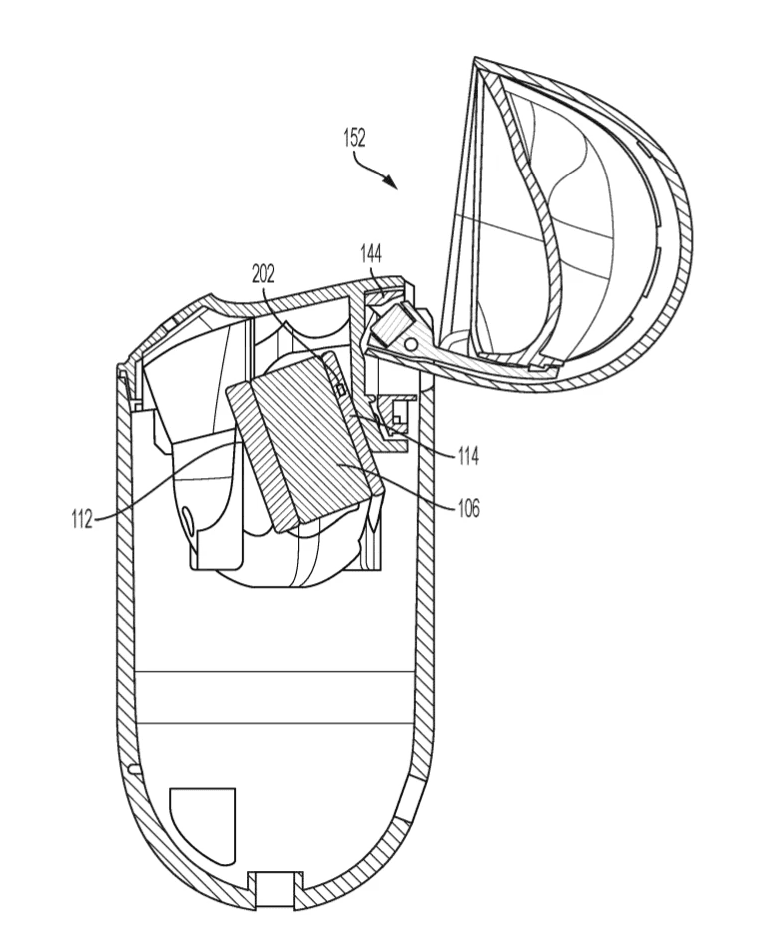
The buds live in a charging case - a slim, pebble shaped form that fits comfortably in a user’s pockets. The case is waterproof and charges both wirelessly & with USB-C.
The buds live in a charging case - a slim, pebble shaped form that fits comfortably in a user’s pockets. The case is waterproof and charges both wirelessly & with USB-C.
The buds live in a charging case - a slim, pebble shaped form that fits comfortably in a user’s pockets. The case is waterproof and charges both wirelessly & with USB-C.





63 mm
63 mm
63 mm
47 mm
47 mm
47 mm
25 mm
25 mm
25 mm
Bi-Stable Lid
Bi-Stable Lid
Bi-Stable
Lid
Wireless Charging
Wireless Charging
Wireless
Charging
Reset Button
Reset Button
Reset
Button
IPx4 Rated
IPx4 Rated
IPx4
Rated
Charging Status
Charging Status
Charging
Status









This product was the result of hard work from many, many individuals. The work highlighted here was in collaboration with the following team members:
David Drennan, Luke Mastrangelo, Melissa Zucker, Peter Cazalet, Troy Edwards
This product was the result of hard work from many, many individuals. The work highlighted here was in collaboration with the following team members:
David Drennan, Luke Mastrangelo, Melissa Zucker, Peter Cazalet, Troy Edwards
This product was the result of hard work from many, many individuals. The work highlighted here was in collaboration with the following team members:
David Drennan, Luke Mastrangelo, Melissa Zucker, Peter Cazalet, Troy Edwards